線切割加工——屬于脈沖放電加工,要求被加工零件的導電性能良好。
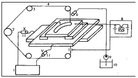
1.快走絲線切割機床組成
主要由主機、機床電氣箱、工作液箱、自適應脈沖電源和數控系統等組成,如圖1所示。

圖1 HCKX250A型數控快走絲線切割機床
2.線切割機床的加工原理
(1)線切割——數控電火花線切割加工的簡稱。
(2)工作原理:利用移動的金屬絲作工具電極,并在金屬絲和工件間通以脈沖電流,利用脈沖放電的腐蝕作用對工件進行切割加工的。
(3)由于它利用的是絲電極,因此,只能作輪廓切割加工。
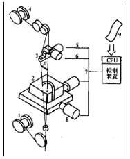
(4)工作原理如圖2所示。

圖2 線切割機床的加工原理
1--數控裝置 2--儲絲簡 3--導輪 4--電極絲 5--工件 6--噴嘴
7--絕緣板 8--脈沖發生器 9--液壓泵 10--水箱 11--控制步進電動機
(5)當工件與線電極間的間隙足以被脈沖電壓擊穿時,兩者之間即產生火花放電而切割工件。
(6)通過數控裝置l發出的指令,控制步進電動機11,驅動X、Y兩托板移動,可加工出任意曲線輪廓的工件。
3.線切割機床的分類
(1)根據控制方式的不同,電火花線切割機床分為:電氣靠模線切割機床;光電跟蹤線切割機床;數字控制線切割機床。
(2)根據電極絲走絲方式的不同,數控線切割機床分為:快走絲線切割機床;慢走絲線切割機床。
1)快走絲線切割機床
①線電極運行速度較快(300—700m/min)。
②可雙向往復運行,即絲電極可重復使用,直到絲電極損耗到一定程度或斷絲為止。
③常用線電極為:鉬絲(Φ0.1~Φ0.2mm)。
④工作液通常為:乳化液或皂化液。
⑤由于電極絲的損耗和電極絲運動過程中換向的影響,其加工精度要比慢走絲差,表面粗糙度要高;
⑥尺寸精度:0.015~0.02mm;
⑦表面粗糙度Rɑ:1.25~2.5μm。
⑧一般尺寸精度最高可達到:0.01mm,表面粗糙度Rɑ為:0.63~1.25μm。
2)慢走絲線切割機床
①線電極運行速度較低(0.5~15m/min)。
②線電極只能單向運動,不能重復使用,這樣可避免電極損耗對加工精度的影響。
③絲電極有:紫銅、黃銅、鎢、鉬和各種合金,直徑一般為0.1~0.35mm。
④工作液:去離子水、煤油。
⑤尺寸精度:±0.001mm
⑥表面粗糙度:Ry0.3μm。
4.線切割加工工藝指標
常用的工藝指標有:切割速度、加工精度和表面粗糙度。
(1)切割速度
1)線切割加工就是對工件進行切縫的加工。
2)切割速度(或加工速度)表示:
①單位時間內電極絲中心所切割過的有效面積(mm2/min) ;
②進給速度(mm/min)附加線切割厚度。
(2)加工精度
加工精度包括:被加工工件的形狀精度和位置精度。
1)形狀精度
①被加工工件的形狀精度是指從XY平面看到的加工形狀的平面精度(即尺寸精度),被加工表面的Z向垂直度。
②提高形狀精度:要求切割面的線性度要小。即:被加工表面要均勻平滑,垂直度小。
③慢走絲線切割加工的工件多為正腰鼓形,即工件中部凹進,
④快走絲卻相反,一般是工件中部凸出。
2)位置精度
①位置精度——是指所切割輪廓間的相對位置偏差。
②位置精度的決定因素:
a.機床本身的精度,即機床的機械精度和控制精度;
b.操作過程中所選用的定位方式。
3)加工表面粗糙度
①表面粗糙度——是指加工后輪廓表面的微觀不平度。
②表示粗糙度的參數主要有:Rɑ、Rz、Ry。
③慢走絲線切割加工的表面粗糙度用下列公式表示:Ry = kz tk0.38 Ip0.34
式中:κz為常數;tk為脈沖寬度(μs);Ip為脈沖峰值電流(A)。
5.影響加工工藝指標的因素
可分為電量與非電量因素的影響。
(1)電參量對加工工藝指標的影響
電參量——是指脈沖電源的參變量,包括脈沖峰值、脈沖寬度、脈沖頻率和電源電壓。
1) 脈沖峰值電流 對加工工藝指標的影響
在其他參數不變的情況下,脈沖峰值電流的增大會增加單個脈沖放電的能量,加工電流也會隨之增 大。線切割速度會明顯增加,表面粗糙度變差。
2)脈沖寬度對加工工藝指標的影響
①在加工電流保持不變的情況下,使脈沖寬度和脈沖停歇時間成一定比例變化。
②脈沖寬度增加,切割速度會隨之增大,但脈寬增大到一定數值后,加工速度不再隨脈沖的增大而增大。
③線切割加工的脈沖寬度一般不大于50μs。
④增大脈寬,表面粗糙度會有所上升。
3)脈沖頻率對加工工藝指標的影響
①單個脈沖能量一定的條件下,提高脈沖放電次數,即提高脈沖頻率,加工速度會提高。
②理論上,單個脈沖能量不變,則加工表面的粗糙度也不變。
③事實上,對快走絲線切割,當脈沖頻率加大時,加工電流會隨之增大,引起換向切割條紋的明顯不同,切割工件的表面粗糙度會隨之變差。
4)電源電壓對加工工藝參數的影響
①峰值電流和加工電流保持不變的條件下,增大電源電壓,能明顯提高切割速度,但對表面粗糙度的影響不大。
②在排屑困難、小能量、小粗糙度條件下,以及對高阻抗、高熔點材料進行切割加工時,電源電壓的增高會提高加工的穩定性,切割速度和加工面質量都會有所改善。
(2)非電參量對加工工藝指標的影響
1)走絲速度
①對切割速度的影響:主要是通過改變排屑條件來實現的。
②提高走絲速度有利于:電極絲把工作液帶入較大厚度的工件放電間隙中;電蝕產物的排出,使加工穩定,提高加工速度。
③走絲速度過高:會導致機械振動加大、加工精度降低和表面粗糙度增大,并易造成斷絲。
④對快走絲線切割,應考慮由于絲電極速度的改變所產生的換向切割條紋對表面粗糙度的影響。
2)電極絲張力對加工工藝指標的影響
①提高電極絲的張力可以減小加工過程中絲的振動,從而提高加工精度和切割速度。
②如果過分增大絲的張力,會引起頻繁斷絲而影響加工速度。
③電極絲張力的波動對加工穩定性和加工質量影響很大,采用恒張力裝置可以減小絲張力的波動。
3)電極絲對加工工藝指標的影響
①包括絲的材料和絲的粗細兩個方面
②絲電極材料:慢走絲線切割多采用黃銅和紫銅絲作為電極材料,快走絲線切割多采用鉬絲和鎢鉬合金作為電極材料。
③絲的粗細:增大絲半徑,可以提高電極絲容許的脈沖電流值,可以提高加工速度,但同時,加工表面粗糙度增大。一般,使用粗電極絲切割厚工件;使用細電極絲切割粗糙度要求高的工件。
4)工件厚度對加工工藝指標的影響
①切割薄工件時
工作液易于進入和充滿放電間隙,有利于排屑和消除電解液過程中工作液里的正負離子。
但工件太薄,則易使電極絲抖動,不利于加工精度和表面粗糙度。
②切割厚工件時
工作液難以進入和充滿放電間隙,故加工穩定性差,但由于電極絲不易抖動,故加工精度和表面租糙度較好。
5)工作液對加工工藝指標的影響
①工作液的作用:介電、冷卻、排屑等
②對加工速度和加工質量的影響:
用煤油加工出的工件呈暗灰色;
用去離子水加工出的工件呈灰色;
用乳化液加工出的工件呈銀白色。
③工作液的電阻率對加工速度的影響:
快走絲線切割機床的工作液裝置一般都沒有凈化設施,工作液使用時間不能太長;
慢走絲線切割由于多用去離子水,所以應定期更換離子交換樹脂。
6.線切割的加工形式
線切割加工可以分為平面加工、錐度加工和二次切割加工等。
(1)平面加工
平面加工——是指電極絲在加工過程中始終是嚴格垂直的,電極絲只在X、Y方向移動,進行二維平面形狀的加工。
(2)錐度加工
錐度加工——是指在加工過程中,通過對X、Y、U、V軸的控制,實現上下異形的立體加工。
在進行錐度加工時需要指定變量的值:
A:定義所要加工的錐度、 Z1:程序面高度
Z2:加工速度顯示面高度、 Z3:上導嘴到工作臺上表面距離(等于ΔZ3+S+Z5)
ΔZ3:用于確定Z3的參數,該參數在設備安裝調試后由系統自動測定
S:上導嘴與工件上表面間隙,在工件裝夾完畢后用塞尺測出,一般取0.1~0.2mm為宜。
Z4:下導嘴到工作臺上表面距離,該參數在設備安裝調試后由系統自動測定; Z5:與程序面對應的非程序面高度。

圖3 錐度加工裝置
1-電極絲回收 2-電極絲下導軌 3-電極絲上導軌 4-電極絲供給 5-V軸驅動器
6-U軸驅動器 7-Y軸驅動器 8-X軸驅動器 9-數控紙帶

圖4 錐度加工參數意義
A:定義所要加工的錐度;Z1:程序面高度; Z2:加工速度顯示面高度;
Z3:上導嘴到工作臺上表面距離(等于ΔZ3+S+Z5) ;Z5:與程序面對應的非程序面高度;
ΔZ3:用于確定Z3的參數,由系統自動測定;S:上導嘴與工件上表面間隙,一般取0.1~0.2mm為宜。

圖5 錐度A值的正負號定義
錐度A值的正負號定義與所使用的絲半徑偏置方式(G41、G42)有關
(3)二次切割加工
1)二次切割加工——預先留出精加工余量進行第一次切割加工,然后針對留下的精加工余量,把加工條件改為精加工條件,分段縮小偏置量,再進行切割加工。
2)一般可分為1~5次切割,稱為二次切割加工法。
二次切割加工有如下三個目的:
①可去掉第一次切割時在起始接頭處留下的凸起部分。
②改善表面粗糙度。逐漸改變每次切割時的電條件,降低單個脈沖能量,改善加工表面粗糙度。
③提高尺寸精度。
經過熱處理的材料,內部會產生應力,這種應力在內部是處于穩定狀態的,但經過線切割放電機加工后,會破壞這種穩定狀態,使內部應力釋放,產生變形。
對粗加工后的工件,再進行1~4次的精加工,可改善表面粗糙度,還能修正尺寸精度。

圖6 一次切割留下的凸起部分