引言
近年來,生物質氣化技術得到很快的發展,多種形式的氣化爐被開發出來,這些氣化爐分為固定床氣化爐和流化床氣化爐兩類[1]。固定床氣化爐分為下吸 式、上吸式、橫吸式和開心式幾種。下吸式氣化爐在微負壓下運行,對密封要求不高,產出可燃氣熱值高、焦油含量少,但是可燃氣中灰分多,且可燃氣出爐溫度 高。上吸式氣化爐在微正壓下運行,對密封要求高,可燃氣中焦油含量高。流化床氣化爐, 爐內溫度高而且恒定,焦油在高溫下裂解生成氣體,燃氣中焦油比較少,但出爐的燃氣中含有較多的灰分,并且流化床氣化爐結構比較復雜,設備投資大,大型氣化 設備較多。
從氣化爐的研究發展趨勢來看,改進氣化爐的結構和氣化工藝,提高產氣熱值和清潔度,達到系統要求的焦油含量(標準狀態下小于10 mg/m3),提高生物質能源利用系統的熱效率,一直是國內外學者關注的焦點[2~6]。本文從提高燃氣熱值、降低焦油的角度出發,設計一種內燃加熱式氣 化爐。
1內燃加熱式氣化爐的工作原理
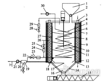
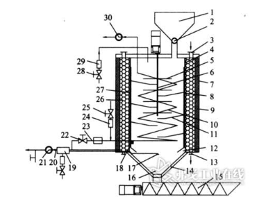
內燃加熱式氣化爐結構如圖1所示。氣化爐將生物質氣化與焦油的催化裂解集于一體,這樣就不需要再為催化裂解提供熱源,簡化了制氣設備,提高了能源利 用率。爐身有3個圓筒將生物質氣化區與催化裂解區分開。生物質物料由料斗加入,電動機帶動回轉閥轉動,物料落入爐內滑板上,經過層層滑落,最后落到爐體底 部。當爐內物料進入一定量后,從爐體側窗口點燃物料,燃氣引風機工作,使爐內氣體由爐體下部沿兩圓筒間縫隙向上運動,經過過濾層進入催化裂解區;再由燃氣 管引出燃氣,一部分由廢氣引風機抽取經回流燃氣風量調節閥、止火器,與空氣混合點燃后進入蛇形管給氣化爐內提供熱量,最后成廢氣排出;另一部分經過熱交換 器,由燃氣引風機引出的氣體,可作為燃氣收集。灰渣從底部由連續排灰裝置排出。
?0?2

圖 1內燃加熱式氣化爐原設計結構簡圖
1. 料斗2.進料機構3.催化劑頂部入口4.濾網5.攪拌葉片6.攪拌軸7.爐體8.耐高溫爐壁9.保溫層10.內燃管道11.擋板12.燃氣出口13.催化 劑底部出口14.錐狀爐底15.出渣機構16.排渣口17.霧化器18.點火器19.熱交換器20.輸氣管道21.引風機22.燃氣量調節閥23.燃氣回 流支路24.空氣流量計25.空氣調節閥26.催化劑床層27.燃氣通道28.進風量調節閥29.風量流量計30.排氣風機
該氣化爐的氣化過程大致可分為生物質氣化[7~10]與焦油的催化裂解2個過程。生物質首先被干燥。當溫度達到或超過160℃時,生物質將會發生熱 解并析出揮發分,反應產物較為復雜,主要為碳、氫氣、水蒸氣、一氧化碳、二氧化碳、甲烷、焦油和其他烴類物質等。少量空氣的加入,使揮發分、熾熱的炭和空 氣中氧氣發生不完全氧化反應,生成一氧化碳、二氧化碳和水蒸氣,同時也釋放出熱量。霧化水蒸氣和氧化生成的二氧化碳、水蒸氣與熾熱的炭發生還原反應生成一 氧化碳、氫氣和甲烷等可燃氣體。最后,這些混合氣體由引風機抽取沿壁縫向上運動進入催化裂解區。混合氣中的焦油在很高的溫度(1 000~1 200℃)下能分解成小分子氣體,但實現這樣高的溫度是比較困難的。若在氣化過程加入催化劑,在700~900℃溫度下,能將絕大部分焦油裂解,裂解的產 物與燃氣成分相似[11~13]。
整個氣化爐的正常運行,是一個平衡的過程,爐內壓力為微負壓,通過進料量、各個閥門的調節得到最理想的氣化燃氣。氣化過程如圖2所示。
?0?2

圖 2[$NewPage$]
?0?2
2內燃加熱式氣化爐的主要參數設計
影響氣化爐性能的主要設計參數有:每小時處理生物質量、燃氣質量、氣化效率、氣化劑用量、回流燃燒燃氣量、回流燃氣燃燒所需空氣量、燃燒所產生的廢 氣量、產氣量輸出功率等。通過分析4種氣化方式以及相互間的關系,由空氣氣化逐步推理計算出氣化爐氣化工作時(空氣-水蒸氣氣化加部分燃氣回流燃燒)的主 要參數。由于生物質種類較多,本次設計所選用的原料為麥秸,具有一定的代表性。
2.1空氣氣化
空氣氣化可以做到自供熱,但由于空氣中N2的體積分數約為80%,使生成氣中的N2體積分數高達50%左右,因而氣體熱值比較低,大約只有5 MJ/m3左右[7]。
某廠家固定床氣化麥秸生成的燃氣成分(體積分數)為:CO 17·6%、H28·5%、CH41.36%、CO214.0%、O21.7%、N256.84%,低位熱值為3 663 kJ/m3。由文獻[7]得,麥秸在自然風干情況下的低位熱值為15.36 MJ/kg。
根據元素守恒,氣化反應后氣體中C含量約小于原料中C的含量,得
?0?2

根據能量守恒,自供熱氣化反應生成的燃氣總低位熱值應小于原料的低位熱值,即
?0?2

2.2空氣-水蒸氣氣化
空氣(或氧氣)-水蒸氣氣化比單用空氣或單用水蒸氣氣化都優越,它是自供熱系統,不需要復雜昂貴的外供熱源;另外氣化所需的一部分氧氣可由水蒸氣裂 解來提供,減少了外供空氣(或氧氣)的消耗量,并生成更多的H2,碳氫化合物,特別是在有催化劑作用的條件下一氧化碳可以與氫氣反應生成甲烷,降低了氣體 中CO 的含量,使氣體燃料更適合于用作城市燃氣。在水蒸氣(800℃)與生物質比為0.95,氧氣當量比為0.2的情況下,氧氣-水蒸氣氣化生成氣的成分(體積 分數)為:CO2 8%、H232%、CO232%、CH47.5%、CnHm2.5%,氣體熱值約為11~12 MJ/m3,屬中熱值氣體[7]。
由空氣氣化生成氣中N2的體積分數為50%左右,再由元素守恒和能量守恒,可設空氣-水蒸氣氣化的氣體特性為表1所示。氣化氣體的低位熱值Qg簡化計算公式為
Qg=126φCO+108φH2+359φCH4+665φCnHm
2.3水蒸氣氣化加部分燃氣回流燃燒
水蒸氣氣化一般不單獨使用,而是與氧氣(或富氧空氣)氣化聯合采用,否則僅由水蒸氣本身提供的熱量難以為氣化提供足夠的熱源。典型的水蒸氣氣化生成 氣的成分 (體積分數)為:CO 28%~42%、H220%~26%、CO216%~23%、CH410%~20%、C2H42%~4%、C2H61%、CnH=2%~3%。由于氫氣和 甲烷含量較高,故生成氣的熱值可以達到11~19 MJ/m3[7]。
由麥秸空氣-水蒸氣氣化生成氣中N2的體積分數約為50%,氣體產率(標準狀態下)約為
2·0m3/kg,所以設水蒸氣氣化氣體產率約為1 m3/kg,再設水蒸氣氣化的氣體特性如表1所示,經式(2)~
(3)核算符合。
氣化氣體中H2由還原反應產生,消耗熱量,空氣-水蒸氣氣化比水蒸氣氣化生成氣中H2的量多;又氣化氣體溫度升高消耗熱量,燃氣最高溫度約為1 200℃,每千克原料水蒸氣氣化氣體量約為空氣水蒸氣氣化時的1/2;所以每千克麥秸水蒸氣氣化所消耗的熱量不超過空氣-水蒸氣氣化所消耗的熱量,得水蒸 氣氣化所消耗的熱量不超過3.5 MJ/kg所以需要不超過約1/4的燃氣回流燃燒。
由燃氣中CO、H2與其燃燒所需氧氣的體積比約為2,CH4與其燃燒所需氧氣的體積比約為0.5,
考慮到CnHm,經計算可得回流燃燒所需氧氣量由空氣中氧氣的體積分數約為20%,可得回流燃燒所需空氣量。由于空氣中的N2不參加反應,根據燃燒反應方程式可得燃氣回流燃燒所產生的廢氣量(標準狀態下,且水以水蒸氣形式存在)。
3內燃加熱式氣化爐的機構設計
3.1氣化爐內旋轉機構的設計
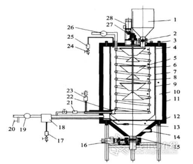
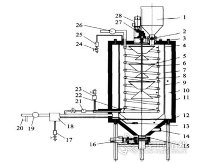
溫度與滯留時間是決定氣相反應程度的主要因素,文獻 [14]表明在700℃,滯留時間大于8 s時,氣相反應基本結束。提高反應溫度,有利于以產氣為主要目的的氣化過程的進行[7]。為調節物料在爐內的下落時間,通過控制電動機速度來控制旋轉機構 的轉動速度,使物料緩慢滑落。氣化爐內旋轉機構的原設計因固定滑板不便于安裝拆卸而不能采用,最終設計成如圖3所示的無固定滑板的可拆卸結構。
電動機經齒輪傳動帶動氣化爐內旋轉機構轉動。齒輪傳動與電動機直接連接在軸端相比,可減少熱量傳遞;與鏈傳動、帶傳動相比,簡化機構,可以在較低的速度下運行。
錐形滑板的傾角設計成45°;物料在滑板上滑落,再由電動機調速可調節物料的滯留時間,使生物質物料在爐內有足夠的滯留時間,利于熱量的傳遞,減少熱解氣中焦油含量[15]。
?0?2

圖 3內燃加熱式氣化爐簡圖
1. 料斗2.回轉閥3.催化劑入口4.過濾網5.錐形滑板6.蛇形管換熱器7.耐火層8.氣化區9.狹縫燃氣通道10.裂解區11.保溫層12.催化劑出口 13.增濕器14.側窗口15.出灰口16.調速電動機17.進水流量計18.換熱器19.燃氣引風機20.燃氣取樣閥21.止火器22.點火器23.空 氣流量計24.風量調解閥25.空氣流量計26.廢氣引風機27.齒輪28.調速電動機
3.2蛇形管內燃燒換熱裝置的設計
采用燃氣回流燃燒為氣化供熱,既減少空氣需求量,又可提高燃氣熱值。回流燃氣經過燃氣回流調解閥、止火器與經過風量調解閥、空氣流量計的空氣混合后 由電子打火器點燃燃燒,燃燒氣體經過蛇形管向氣化爐內傳遞熱量。由于燃氣燃燒溫度非常高,最高溫度可達1 200℃以上,所以對燃燒管的耐高溫性能要求非常高,可采用0Gr25Ni20。燃燒火焰部位內襯陶瓷管,防止高溫燒蝕。
熱量傳遞方式有熱傳導、熱對流和熱輻射。實際的熱量傳遞往往是2種或3種基本方式的組合。燃氣回流燃燒向爐內傳遞熱量方式為強制對流換熱。回流燃燒 換熱管的尺寸設計根據水蒸氣氣化加部分燃氣回流燃燒和空氣-水蒸氣氣化加部分燃氣回流燃燒兩種情況計算,其計算方法相同。設一根燃燒換熱管時,燃燒產生的 廢氣最高溫度為1 200℃,廢氣出爐溫度為300℃,爐內燃燒管附近最高溫度為1 000℃,最低溫度為100℃,管壁平均溫度比廢氣平均溫度低100℃。
3.3氣化爐壓力控制和加料方式的選擇與設計
氣化爐采用平衡通風方式,燃氣引風機抽動爐內氣體運動,爐內壓力為微負壓,在爐體頂部安裝安全閥,避免爐內壓力過大。氣化爐原設計采用螺旋進料機 構,但由于爐頂的面積有限,不便于設計安裝,故改用回轉閥加落料管式加料法,該方法雖然密封性欠佳,但爐內的生物質氣化需要一定量氧氣,因而可滿足工作要 求。在工作過程中,通過調節各個閥門和電動機轉速使系統平穩運行。
3.4狹縫燃氣通道的設計
生物質氣化區與催化裂解區之間設計有狹縫式燃氣通道,該設計可使燃氣與灰渣有效分離。當燃氣由引風機抽動向上運動時,灰渣則由于自身重力作用向下運 動;同時由于氣體沿著圓筒壁做螺旋上升運動,作離心運動時灰渣碰到爐壁將滑落到爐體底部。另外使氣化爐具有下吸式氣化爐的優點,氣化過程產生的可燃氣中焦 油含量低。
3.5監測系統設計
影響生物質氣化的一個重要因素是溫度,爐內最高溫度約在1 000℃左右,采用鎳鉻鎳硅熱電偶來測量爐內溫度,為了測量不同區域的溫度,布置了多個測溫孔,圖3中“·”為測溫點,各熱電偶經過轉換開關接到數字式毫 伏表,可以觀察不同區域的溫度變化。燃氣取樣處采集的氣樣采用奧式氣樣分析儀在常溫下對采樣氣進行分析。另外,在爐體上部安裝有攝像頭,以便于隨時監測爐 內的實時反應情況。
4結論
(1)本文設計爐的氣化工作原理是結合下吸式固定床氣化爐、干餾氣化、空氣氣化、水蒸氣氣化和焦油的催化裂解的特點設計出的,氣化產生中熱值的氣體。
(2)本實驗爐有效地將生物質氣化與焦油的催化裂解集于一體,提高了燃氣熱值,避免再為催化裂解單獨提供熱源,簡化了生物質氣化設備。
(3)設計爐內旋轉機構的設計,延長了物料在爐內的停留時間,減少氣化過程中焦油的產生,增強了氣化效率。
(4)設計爐內蛇形管內燃燒換熱裝置的設計,減少了燃氣中N2含量,提高燃氣熱值。
(5)設計爐內霧化增濕裝置的,能夠冷卻生物質燃氣,又提高燃氣熱值。摘要
根據生物質氣化原理,針對目前氣化爐產氣熱值低和存在焦油的問題,設計了一種內燃加熱式氣化爐。內燃加熱式氣化爐優于已有的固定床氣化爐、流化床氣 化爐;類似于下吸式固定床氣化爐,熱解氣中焦油含量低;設置以熱解氣為燃料的內加熱系統,減少了空氣入爐量,提高了熱解氣熱值。內燃加熱式氣化爐是將生物 質氣化與焦油的催化裂解集于一體,不需要再為催化裂解提供熱源。
引言
近年來,生物質氣化技術得到很快的發展,多種形式的氣化爐被開發出來,這些氣化爐分為固定床氣化爐和流化床氣化爐兩類[1]。固定床氣化爐分為下吸 式、上吸式、橫吸式和開心式幾種。下吸式氣化爐在微負壓下運行,對密封要求不高,產出可燃氣熱值高、焦油含量少,但是可燃氣中灰分多,且可燃氣出爐溫度 高。上吸式氣化爐在微正壓下運行,對密封要求高,可燃氣中焦油含量高。流化床氣化爐, 爐內溫度高而且恒定,焦油在高溫下裂解生成氣體,燃氣中焦油比較少,但出爐的燃氣中含有較多的灰分,并且流化床氣化爐結構比較復雜,設備投資大,大型氣化 設備較多。
從氣化爐的研究發展趨勢來看,改進氣化爐的結構和氣化工藝,提高產氣熱值和清潔度,達到系統要求的焦油含量(標準狀態下小于10 mg/m3),提高生物質能源利用系統的熱效率,一直是國內外學者關注的焦點[2~6]。本文從提高燃氣熱值、降低焦油的角度出發,設計一種內燃加熱式氣 化爐。
1內燃加熱式氣化爐的工作原理
內燃加熱式氣化爐結構如圖1所示。氣化爐將生物質氣化與焦油的催化裂解集于一體,這樣就不需要再為催化裂解提供熱源,簡化了制氣設備,提高了能源利 用率。爐身有3個圓筒將生物質氣化區與催化裂解區分開。生物質物料由料斗加入,電動機帶動回轉閥轉動,物料落入爐內滑板上,經過層層滑落,最后落到爐體底 部。當爐內物料進入一定量后,從爐體側窗口點燃物料,燃氣引風機工作,使爐內氣體由爐體下部沿兩圓筒間縫隙向上運動,經過過濾層進入催化裂解區;再由燃氣 管引出燃氣,一部分由廢氣引風機抽取經回流燃氣風量調節閥、止火器,與空氣混合點燃后進入蛇形管給氣化爐內提供熱量,最后成廢氣排出;另一部分經過熱交換 器,由燃氣引風機引出的氣體,可作為燃氣收集。灰渣從底部由連續排灰裝置排出。
?0?2

圖 1內燃加熱式氣化爐原設計結構簡圖
1. 料斗2.進料機構3.催化劑頂部入口4.濾網5.攪拌葉片6.攪拌軸7.爐體8.耐高溫爐壁9.保溫層10.內燃管道11.擋板12.燃氣出口13.催化 劑底部出口14.錐狀爐底15.出渣機構16.排渣口17.霧化器18.點火器19.熱交換器20.輸氣管道21.引風機22.燃氣量調節閥23.燃氣回 流支路24.空氣流量計25.空氣調節閥26.催化劑床層27.燃氣通道28.進風量調節閥29.風量流量計30.排氣風機
該氣化爐的氣化過程大致可分為生物質氣化[7~10]與焦油的催化裂解2個過程。生物質首先被干燥。當溫度達到或超過160℃時,生物質將會發生熱 解并析出揮發分,反應產物較為復雜,主要為碳、氫氣、水蒸氣、一氧化碳、二氧化碳、甲烷、焦油和其他烴類物質等。少量空氣的加入,使揮發分、熾熱的炭和空 氣中氧氣發生不完全氧化反應,生成一氧化碳、二氧化碳和水蒸氣,同時也釋放出熱量。霧化水蒸氣和氧化生成的二氧化碳、水蒸氣與熾熱的炭發生還原反應生成一 氧化碳、氫氣和甲烷等可燃氣體。最后,這些混合氣體由引風機抽取沿壁縫向上運動進入催化裂解區。混合氣中的焦油在很高的溫度(1 000~1 200℃)下能分解成小分子氣體,但實現這樣高的溫度是比較困難的。若在氣化過程加入催化劑,在700~900℃溫度下,能將絕大部分焦油裂解,裂解的產 物與燃氣成分相似[11~13]。
整個氣化爐的正常運行,是一個平衡的過程,爐內壓力為微負壓,通過進料量、各個閥門的調節得到最理想的氣化燃氣。氣化過程如圖2所示。
?0?2

圖 2[$NewPage$]
?0?2
2內燃加熱式氣化爐的主要參數設計
影響氣化爐性能的主要設計參數有:每小時處理生物質量、燃氣質量、氣化效率、氣化劑用量、回流燃燒燃氣量、回流燃氣燃燒所需空氣量、燃燒所產生的廢 氣量、產氣量輸出功率等。通過分析4種氣化方式以及相互間的關系,由空氣氣化逐步推理計算出氣化爐氣化工作時(空氣-水蒸氣氣化加部分燃氣回流燃燒)的主 要參數。由于生物質種類較多,本次設計所選用的原料為麥秸,具有一定的代表性。
2.1空氣氣化
空氣氣化可以做到自供熱,但由于空氣中N2的體積分數約為80%,使生成氣中的N2體積分數高達50%左右,因而氣體熱值比較低,大約只有5 MJ/m3左右[7]。
某廠家固定床氣化麥秸生成的燃氣成分(體積分數)為:CO 17·6%、H28·5%、CH41.36%、CO214.0%、O21.7%、N256.84%,低位熱值為3 663 kJ/m3。由文獻[7]得,麥秸在自然風干情況下的低位熱值為15.36 MJ/kg。
根據元素守恒,氣化反應后氣體中C含量約小于原料中C的含量,得
?0?2

根據能量守恒,自供熱氣化反應生成的燃氣總低位熱值應小于原料的低位熱值,即
?0?2

2.2空氣-水蒸氣氣化
空氣(或氧氣)-水蒸氣氣化比單用空氣或單用水蒸氣氣化都優越,它是自供熱系統,不需要復雜昂貴的外供熱源;另外氣化所需的一部分氧氣可由水蒸氣裂 解來提供,減少了外供空氣(或氧氣)的消耗量,并生成更多的H2,碳氫化合物,特別是在有催化劑作用的條件下一氧化碳可以與氫氣反應生成甲烷,降低了氣體 中CO 的含量,使氣體燃料更適合于用作城市燃氣。在水蒸氣(800℃)與生物質比為0.95,氧氣當量比為0.2的情況下,氧氣-水蒸氣氣化生成氣的成分(體積 分數)為:CO2 8%、H232%、CO232%、CH47.5%、CnHm2.5%,氣體熱值約為11~12 MJ/m3,屬中熱值氣體[7]。
由空氣氣化生成氣中N2的體積分數為50%左右,再由元素守恒和能量守恒,可設空氣-水蒸氣氣化的氣體特性為表1所示。氣化氣體的低位熱值Qg簡化計算公式為
Qg=126φCO+108φH2+359φCH4+665φCnHm
2.3水蒸氣氣化加部分燃氣回流燃燒
水蒸氣氣化一般不單獨使用,而是與氧氣(或富氧空氣)氣化聯合采用,否則僅由水蒸氣本身提供的熱量難以為氣化提供足夠的熱源。典型的水蒸氣氣化生成 氣的成分 (體積分數)為:CO 28%~42%、H220%~26%、CO216%~23%、CH410%~20%、C2H42%~4%、C2H61%、CnH=2%~3%。由于氫氣和 甲烷含量較高,故生成氣的熱值可以達到11~19 MJ/m3[7]。
由麥秸空氣-水蒸氣氣化生成氣中N2的體積分數約為50%,氣體產率(標準狀態下)約為
2·0m3/kg,所以設水蒸氣氣化氣體產率約為1 m3/kg,再設水蒸氣氣化的氣體特性如表1所示,經式(2)~
(3)核算符合。
氣化氣體中H2由還原反應產生,消耗熱量,空氣-水蒸氣氣化比水蒸氣氣化生成氣中H2的量多;又氣化氣體溫度升高消耗熱量,燃氣最高溫度約為1 200℃,每千克原料水蒸氣氣化氣體量約為空氣水蒸氣氣化時的1/2;所以每千克麥秸水蒸氣氣化所消耗的熱量不超過空氣-水蒸氣氣化所消耗的熱量,得水蒸 氣氣化所消耗的熱量不超過3.5 MJ/kg所以需要不超過約1/4的燃氣回流燃燒。
由燃氣中CO、H2與其燃燒所需氧氣的體積比約為2,CH4與其燃燒所需氧氣的體積比約為0.5,
考慮到CnHm,經計算可得回流燃燒所需氧氣量由空氣中氧氣的體積分數約為20%,可得回流燃燒所需空氣量。由于空氣中的N2不參加反應,根據燃燒反應方程式可得燃氣回流燃燒所產生的廢氣量(標準狀態下,且水以水蒸氣形式存在)。
3內燃加熱式氣化爐的機構設計
3.1氣化爐內旋轉機構的設計
溫度與滯留時間是決定氣相反應程度的主要因素,文獻 [14]表明在700℃,滯留時間大于8 s時,氣相反應基本結束。提高反應溫度,有利于以產氣為主要目的的氣化過程的進行[7]。為調節物料在爐內的下落時間,通過控制電動機速度來控制旋轉機構 的轉動速度,使物料緩慢滑落。氣化爐內旋轉機構的原設計因固定滑板不便于安裝拆卸而不能采用,最終設計成如圖3所示的無固定滑板的可拆卸結構。
電動機經齒輪傳動帶動氣化爐內旋轉機構轉動。齒輪傳動與電動機直接連接在軸端相比,可減少熱量傳遞;與鏈傳動、帶傳動相比,簡化機構,可以在較低的速度下運行。
錐形滑板的傾角設計成45°;物料在滑板上滑落,再由電動機調速可調節物料的滯留時間,使生物質物料在爐內有足夠的滯留時間,利于熱量的傳遞,減少熱解氣中焦油含量[15]。
?0?2
圖 3內燃加熱式氣化爐簡圖
1. 料斗2.回轉閥3.催化劑入口4.過濾網5.錐形滑板6.蛇形管換熱器7.耐火層8.氣化區9.狹縫燃氣通道10.裂解區11.保溫層12.催化劑出口 13.增濕器14.側窗口15.出灰口16.調速電動機17.進水流量計18.換熱器19.燃氣引風機20.燃氣取樣閥21.止火器22.點火器23.空 氣流量計24.風量調解閥25.空氣流量計26.廢氣引風機27.齒輪28.調速電動機
3.2蛇形管內燃燒換熱裝置的設計
采用燃氣回流燃燒為氣化供熱,既減少空氣需求量,又可提高燃氣熱值。回流燃氣經過燃氣回流調解閥、止火器與經過風量調解閥、空氣流量計的空氣混合后 由電子打火器點燃燃燒,燃燒氣體經過蛇形管向氣化爐內傳遞熱量。由于燃氣燃燒溫度非常高,最高溫度可達1 200℃以上,所以對燃燒管的耐高溫性能要求非常高,可采用0Gr25Ni20。燃燒火焰部位內襯陶瓷管,防止高溫燒蝕。
熱量傳遞方式有熱傳導、熱對流和熱輻射。實際的熱量傳遞往往是2種或3種基本方式的組合。燃氣回流燃燒向爐內傳遞熱量方式為強制對流換熱。回流燃燒 換熱管的尺寸設計根據水蒸氣氣化加部分燃氣回流燃燒和空氣-水蒸氣氣化加部分燃氣回流燃燒兩種情況計算,其計算方法相同。設一根燃燒換熱管時,燃燒產生的 廢氣最高溫度為1 200℃,廢氣出爐溫度為300℃,爐內燃燒管附近最高溫度為1 000℃,最低溫度為100℃,管壁平均溫度比廢氣平均溫度低100℃。
3.3氣化爐壓力控制和加料方式的選擇與設計
氣化爐采用平衡通風方式,燃氣引風機抽動爐內氣體運動,爐內壓力為微負壓,在爐體頂部安裝安全閥,避免爐內壓力過大。氣化爐原設計采用螺旋進料機 構,但由于爐頂的面積有限,不便于設計安裝,故改用回轉閥加落料管式加料法,該方法雖然密封性欠佳,但爐內的生物質氣化需要一定量氧氣,因而可滿足工作要 求。在工作過程中,通過調節各個閥門和電動機轉速使系統平穩運行。
3.4狹縫燃氣通道的設計
生物質氣化區與催化裂解區之間設計有狹縫式燃氣通道,該設計可使燃氣與灰渣有效分離。當燃氣由引風機抽動向上運動時,灰渣則由于自身重力作用向下運 動;同時由于氣體沿著圓筒壁做螺旋上升運動,作離心運動時灰渣碰到爐壁將滑落到爐體底部。另外使氣化爐具有下吸式氣化爐的優點,氣化過程產生的可燃氣中焦 油含量低。
3.5監測系統設計
影響生物質氣化的一個重要因素是溫度,爐內最高溫度約在1 000℃左右,采用鎳鉻鎳硅熱電偶來測量爐內溫度,為了測量不同區域的溫度,布置了多個測溫孔,圖3中“·”為測溫點,各熱電偶經過轉換開關接到數字式毫 伏表,可以觀察不同區域的溫度變化。燃氣取樣處采集的氣樣采用奧式氣樣分析儀在常溫下對采樣氣進行分析。另外,在爐體上部安裝有攝像頭,以便于隨時監測爐 內的實時反應情況。
4結論
(1)本文設計爐的氣化工作原理是結合下吸式固定床氣化爐、干餾氣化、空氣氣化、水蒸氣氣化和焦油的催化裂解的特點設計出的,氣化產生中熱值的氣體。
(2)本實驗爐有效地將生物質氣化與焦油的催化裂解集于一體,提高了燃氣熱值,避免再為催化裂解單獨提供熱源,簡化了生物質氣化設備。
(3)設計爐內旋轉機構的設計,延長了物料在爐內的停留時間,減少氣化過程中焦油的產生,增強了氣化效率。
(4)設計爐內蛇形管內燃燒換熱裝置的設計,減少了燃氣中N2含量,提高燃氣熱值。
(5)設計爐內霧化增濕裝置的,能夠冷卻生物質燃氣,又提高燃氣熱值。